
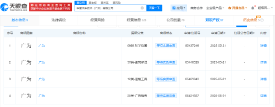
新浪科技讯 6月20日上午消息,天眼查App显示,近日,华望汽车技术(广州)有限公司申请注册多枚“广为”“启境”“至境”“元方”等商标速牛配资,国际分类涉及运输工具、科学仪器、广告销售等。
华望汽车技术(广州)有限公司成立于今年3月,法定代表人为閤先庆,注册资本15亿人民币,由广汽集团全资持股。据报道,该公司为广汽集团与华为合作公司,近日开启大规模招聘。
海量资讯、精准解读,尽在新浪财经APP
责任编辑:尉旖涵
博牛配资提示:文章来自网络,不代表本站观点。